Defining a Stay Connection
With the Stay Connection command, beam-beam connection is defined. It connects the steel beams that connection at different levels to each other with angle plate.

Location of the Stay Connection Command
You can access it under the Ribbon menu, Connection tab, Experimentals title.

Usage Steps
For two beams whose elevation is different but intersecting;
From the Connection menu, click the Stay Connection icon.
First choose the bottom beam. Then select the parts of the other beam in turn and press the right mouse button
The connection will occur with default settings.
Location of the Stay Connection Settings Dialog
Select the connection and click the right mouse button. Click the Properties line from the right click menu that opens.

Stay Connection Settings Dialog
Type Tab

Specifications |
|---|
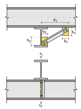
Connection type ![]() Connection type is selected for top and bottom plates. |
Crosses ![]() It is chosen whether the crosses will be on the left or right or both sides. |
Connection branch ![]() It is selected whether the connection will be on the left or right or both sides. |
Schematic drawing ![]() Connection and placement values are shown on the schematic drawing. |
Preview ![]() There is a preview of the connection. The selection made and the entered values can be followed simultaneously in the preview. |
Plates Tab

Specifications |
|---|
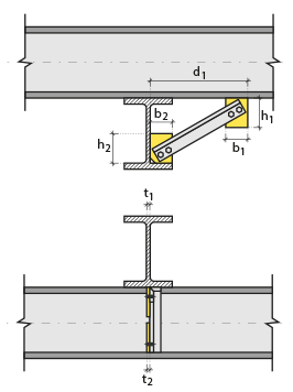
Support plate ![]() The support plate is determined by entering the value. The values to be entered are shown in the schematic drawing. |
Secondary plate ![]() The secondary plate is determined by entering the value. The values to be entered are shown in the schematic drawing. |
Diagonal plate ![]() The diagonal plate is determined by entering the value. The values to be entered are shown in the schematic drawing. |
Schematic drawing ![]() Connection and plate values are shown on the schematic drawing. |
Preview ![]() There is a preview of the connection. The selection made and the entered values can be followed simultaneously in the preview. |
Angle Tab

Specifications |
|---|
Define plate geometry ![]() If the option is selected, it is determined by entering the angle values. The values to be entered are shown in the schematic drawing. |
Use section ![]() By selecting the option, one of the ready-made L profiles is selected from the list as an angle. By clicking on the load section button, you can reach the ready section library and reach the list of American and European finished rolling sections and select from the list. |
Schematic drawing ![]() Connection and plate values are shown on the schematic drawing. |
Preview ![]() There is a preview of the connection. The selection made and the entered values can be followed simultaneously in the preview. |
Chamfers Tab

Specifications |
|---|
Chamfer (c1) ![]() For easy assembly of the plates in the field, the use of slope, slope type and geometric properties are determined by entering the value. |
Schematic drawing ![]() Connection, notching and cutting values are shown on the schematic drawing. |
Preview ![]() There is a preview of the connection. The selection made and the entered values can be followed simultaneously in the preview. |
Welds Tab

Specifications |
|---|
Welds ![]() The thickness, type and angle values of the welds to be made at the connections are given. The information on whether it will be done on the construction site or not is entered. |
Weld electrode ![]() The strengths of the welding electrodes are defined in the design inputs. The strength of the main element in the weld joint is controlled under the condition that it has less strength than the weld strength. If necessary, click the list and define "Create New…". To create the welding electrode, give the information "Name" and "Weld metal tensile strength" in the dialog that opens after clicking "Create New". Welding geometry is determined automatically by the program. These properties can be changed to easily determine the connection properties. Geometry features are in accordance with industry standards and in the form specified in AISC. |
Schematic drawing ![]() Connection and weld values are shown on the schematic drawing. |
Preview ![]() There is a preview of the connection. The selection made and the entered values can be followed simultaneously in the preview. |
Connection Bolts Tab

Specifications |
|---|
Horizontal arrangement ![]() The horizontal arrangement distance value of the bolts is entered. The values to be entered are shown in the schematic drawing. |
Group 1 ![]() Distance values of bolts to beam and other bolts are entered. The values to be entered are shown in the schematic drawing. |
Bolt properties ![]() The Hole and Bolt Parameters dialog is opened by clicking on the bolt properties button. The bolt properties are set in this dialog. |
Schematic drawing ![]() Connection and bolt arrangement values are shown on the schematic drawing. |
Preview ![]() There is a preview of the connection. The selection made and the entered values can be followed simultaneously in the preview. |
Design Data Tab

In the design data, the connection elements material is defined. The condition that the main element in the weld joint has less strength than the weld strength is controlled.

If necessary, click the list and define "Create New…". To create the connection elements material, give the information material definitions and values in the dialog that opens after clicking "Create New".





















