Defining a Truss Connection
With the Truss Connection command, upper, lower head and trusses strut and crosses are combined. When purlins are defined, their connections is automatically defined. The automatically defined connections can be deleted and a new one can be made.

Location of the Truss Connection Command
You can access it under the Ribbon menu, Connection tab, Experimentals title.

Usage Steps
Click on the Truss Connection icon from the Connection menu.
From the 3D perspective view, select the scissor top and / or bottom header and headers respectively.
Press the right mouse button and select braces and / or posts.
The connection will occur with default settings.
Double-click the connection to change settings.
The connection dialog will open.
Location of the Truss Connection Settings Dialog
Select the connection and click the right mouse button. Click the Properties line from the right click menu that opens.

Truss Connection Settings Dialog
Type Tab

Specifications |
|---|
Connection to elements ![]() Welded, bolted or hybrid connection type is selected for combination. |
Bolted element ![]() Become active when hybrid option is selected. The element to be bolted is determined. |
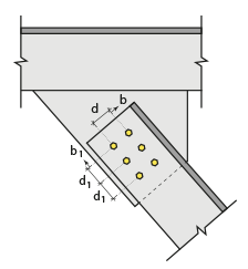
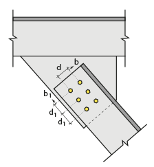
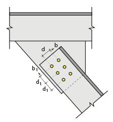
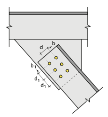
Plate geometry ![]() Plate dimensions are determined by entering values. The values to be entered are shown in the schematic drawing. |
Element trim parameters ![]() Element trim type options are given. Also element trim parameters are determined by entering values. The values to be entered are shown in the schematic drawing. dc settings is just for truss top connection. Adjusts the distance between top elements. |
Schematic drawing ![]() Connection and placement values are shown on the schematic drawing. |
Preview ![]() There is a preview of the connection. The selection made and the entered values can be followed simultaneously in the preview. |
Welds Tab

Specifications |
|---|
Welds ![]() The thickness, type and angle values of the welds to be made at the connections are given. The information on whether it will be done on the construction site or not is entered. |
Weld electrode ![]() The strengths of the welding electrodes are defined in the design inputs. The strength of the main element in the weld joint is controlled under the condition that it has less strength than the weld strength. If necessary, click the list and define "Create New…". To create the welding electrode, give the information "Name" and "Weld metal tensile strength" in the dialog that opens after clicking "Create New". Welding geometry is determined automatically by the program. These properties can be changed to easily determine the connection properties. Geometry features are in accordance with industry standards and in the form specified in AISC. |
Schematic drawing ![]() Connection and weld values are shown on the schematic drawing. |
Preview ![]() There is a preview of the connection. The selection made and the entered values can be followed simultaneously in the preview. |
Bolts Tab

Specifications |
|---|
Horizontal arrangement ![]() The horizontal arrangement distance value of the bolts is entered. The values to be entered are shown in the schematic drawing. |
Group 1 ![]() Distance values of bolts to beam and other bolts are entered. The values to be entered are shown in the schematic drawing. |
Bolt properties ![]() The Hole and Bolt Parameters dialog is opened by clicking on the bolt properties button. The bolt properties are set in this dialog. |
Schematic drawing ![]() Connection and bolt arrangement values are shown on the schematic drawing. |
Preview ![]() There is a preview of the connection. The selection made and the entered values can be followed simultaneously in the preview. |
Chord Bolts Tab
It becomes active when the entered truss top connection settings.

Specifications |
|---|
Vertical arrangement ![]() The vertical arrangement distance value of the bolts is entered. The values to be entered are shown in the schematic drawing. |
Group 1 ![]() Distance values of bolts to truss top bolts are entered. The values to be entered are shown in the schematic drawing. |
Bolt properties ![]() The Hole and Bolt Parameters dialog is opened by clicking on the bolt properties button. The bolt properties are set in this dialog. |
Schematic drawing ![]() Connection and bolt arrangement values are shown on the schematic drawing. |
Preview ![]() There is a preview of the connection. The selection made and the entered values can be followed simultaneously in the preview. |
Design Data Tab

In the design data, the connection elements material is defined. The condition that the main element in the weld joint has less strength than the weld strength is controlled.

If necessary, click the list and define "Create New…". To create the connection elements material, give the information material definitions and values in the dialog that opens after clicking "Create New".
Next Topic

















