Defining a Purlin Connection
With the Purlin Connection command, purlin-truss or purlin-steel beam connections are defined. When purlins are defined, their connection is automatically defined. The automatically defined connection can be deleted and a new one can be made.

Location of the Purlin Connection Command
You can access it under the Ribbon menu, Connection tab, Experimentals title.

Usage Steps
From the Connection menu, click the Purlin Connection icon.
Click the beam or truss, then the beam, respectively, from the 3D perspective view.
The connection will occur with default settings.
Location of the Purlin Connection Settings Dialog
Select the connection and click the right mouse button. Click the Properties line from the right click menu that opens.

Purlin Connection Settings Dialog
Type Tab

Specifications |
|---|
Type ![]() Profile or plate type is selected. |
Connection to main object ![]() Welded or bolted connection type is selected for connection to the main object. |
Connection to purlin ![]() Welded or bolted connection type is selected for connection to the purlin. |
Plates ![]() It is chosen whether the plates will be on the left or right or on both sides. |
Schematic drawing ![]() Connection is shown on the schematic drawing. |
Preview ![]() There is a preview of the connection. The selection made and the entered values can be followed simultaneously in the preview. |
Plates Tab
This tab appears when the plate is marked in type tab..

Specifications |
|---|
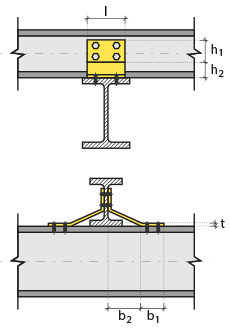
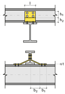
Define plate geometry ![]() If the option is selected, it is determined by entering the angle values. The values to be entered are shown in the schematic drawing. |
Use section ![]() By selecting the option, one of the ready-made L profiles is selected from the list as an angle bracket. By clicking on the Load section button, you can reach the ready section library and reach the list of American and European finished rolling sections and select from the list. |
Profile length ![]() Profile length value is entered. |
Side plates ![]() By entering values, left and right side plates are defined. |
Schematic drawing ![]() Connection and plate values are shown on the schematic drawing. |
Preview ![]() There is a preview of the connection. The selection made and the entered values can be followed simultaneously in the preview. |
Profile Tab
This tab appears when the profile is marked in type tab..

Specifications |
|---|
Use section ![]() By selecting the option, one of the ready-made U profiles is selected from the list as a profile. By clicking on the Load section button, you can reach the ready section library and reach the list of American and European finished rolling sections and select from the list. |
Profile length ![]() Profile length value is entered. |
Schematic drawing ![]() Connection and plate values are shown on the schematic drawing. |
Preview ![]() There is a preview of the connection. The selection made and the entered values can be followed simultaneously in the preview. |
Purlin Bolts Tab

Specifications |
|---|
Horizontal arrangement ![]() The horizontal arrangement distance value of the bolts is entered. The values to be entered are shown in the schematic drawing. |
Group 1 ![]() Distance values of bolts to beam and other bolts are entered. The values to be entered are shown in the schematic drawing. |
Bolt properties ![]() The Hole and Bolt Parameters dialog is opened by clicking on the bolt properties button. The bolt properties are set in this dialog. |
Schematic drawing ![]() Connection and bolt arrangement values are shown on the schematic drawing. |
Preview ![]() There is a preview of the connection. The selection made and the entered values can be followed simultaneously in the preview. |
Welds Tab

Specifications |
|---|
Welds ![]() The thickness, type and angle values of the welds to be made at the connections are given. The information on whether it will be done on the construction site or not is entered. |
Weld electrode ![]() The strengths of the welding electrodes are defined in the design inputs. The strength of the main element in the weld joint is controlled under the condition that it has less strength than the weld strength. If necessary, click the list and define "Create New…". To create the welding electrode, give the information "Name" and "Weld metal tensile strength" in the dialog that opens after clicking "Create New". Welding geometry is determined automatically by the program. These properties can be changed to easily determine the connection properties. Geometry features are in accordance with industry standards and in the form specified in AISC. |
Schematic drawing ![]() Connection and weld values are shown on the schematic drawing. |
Preview ![]() There is a preview of the connection. The selection made and the entered values can be followed simultaneously in the preview. |
Design Data Tab

In the design data, the connection elements material is defined. The condition that the main element in the weld joint has less strength than the weld strength is controlled.

If necessary, click the list and define "Create New…". To create the connection elements material, give the information material definitions and values in the dialog that opens after clicking "Create New".
Next Topic





















