Defining a Round Plate Tube Base Plate
With the Round Plate Tube Base Plate command, steel column-foundation connections are defined.

Location of the Round Plate Tube Base Plate Command
You can access it under the Ribbon menu, Connection tab, Experimentals title.

Usage Steps
If Draw in Fast Mode is Active
From the connection menu, click the Round Plate Tube Base Plate icon.
In 3D perspective view, move the mouse pointer closer to the element, close to the support
After this process, the virtual image of the connection will appear.
If the connection is suitable, create the connection by clicking the left mouse button.
The connection will occur with default settings.
If Draw in Fast Mode is Inactive
From the Connection menu, click the Round Plate Tube Base Plate icon.
Click the column from the 3D perspective view.
The connection will occur with default settings.
Location of the Round Plate Tube Base Plate Connection Dialog
If the draw in fast mode is active, the connection settings will be opened automatically.
If the draw in fast mode is inactive, select the connection and click the right mouse button. Click the Properties line from the right click menu that opens.

Round Plate Tube Base Plate Connection Dialog
Stiffeners Tab

Specifications |
|---|
Stiffening for primary direction ![]() Stiffening type in the primary direction is selected from the options. |
Preview ![]() There is a preview of the connection. The selection made and the entered values can be followed simultaneously in the preview. |
Plates and Grout Tab

Specifications |
|---|
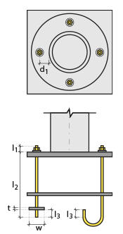
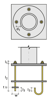
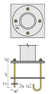
Main plate ![]() The main plate is determined by entering the value. The values to be entered are shown in the schematic drawing. |
Fitting plate 1/2 ![]() Fitting plates are determined by entering the value. The values to be entered are shown in the schematic drawing. |
Grout ![]() The value is entered for grout. The values to be entered are shown in the schematic drawing. |
Cast plate ![]() The cast plate is determined by entering the value. The values to be entered are shown in the schematic drawing. |
Schematic drawing ![]() Connection and plate values are shown on the schematic drawing. |
Preview ![]() There is a preview of the connection. The selection made and the entered values can be followed simultaneously in the preview. |
Primary Stiffeners Tab

Specifications |
|---|
Stiffening plate ![]() The stiffening plate is determined by entering the value. The values to be entered are shown in the schematic drawing. |
Schematic drawing ![]() Connection and plate values are shown on the schematic drawing. |
Preview ![]() There is a preview of the connection. The selection made and the entered values can be followed simultaneously in the preview. |
Chamfers Tab

Specifications |
|---|
Chamfers ![]() For easy assembly of the plates in the field, the use of slope, slope type and geometric properties are determined by entering the value. |
Schematic drawing ![]() Connection, notching and cutting values are shown on the schematic drawing. |
Preview ![]() There is a preview of the connection. The selection made and the entered values can be followed simultaneously in the preview. |
Anchorage Tab

Specifications |
|---|
Primary direction ![]() It is determined by entering the number of anchorages to be located in the primary direction and the distance values. The values to be entered are shown in the schematic drawing. |
Secondary direction ![]() It is determined by entering the number of anchorages to be located in the secondary direction and the distance values. The values to be entered are shown in the schematic drawing. |
Anchors ![]() ![]() Anchor type is selected from the list. Anchor dimensions are determined by entering values. The values to be entered are shown in the schematic drawing. |
Bolt properties ![]() The Hole and Bolt Parameters dialog is opened by clicking on the bolt properties button. The bolt properties are set in this dialog. |
Schematic drawing ![]() Connection and plate values are shown on the schematic drawing. |
Preview ![]() There is a preview of the connection. The selection made and the entered values can be followed simultaneously in the preview. |
Shear Assembly Tab

Specifications |
|---|
Shear key ![]() One of the ready-made profiles is selected from the list as a shear key. By clicking on the Load section button, you can reach the ready section library and reach the list of American and European finished rolling sections and select from the list. |
Shear key length ![]() The shear key length is entered. The values to be entered are shown in the schematic drawing. |
Washer plate ![]() The washer plate dimensions are determined by entering the values. The values to be entered are shown in the schematic drawing. |
Schematic drawing ![]() Connection and plate values are shown on the schematic drawing. |
Preview ![]() There is a preview of the connection. The selection made and the entered values can be followed simultaneously in the preview. |
Welds Tab

Specifications |
|---|
Welds ![]() The thickness, type and angle values of the welds to be made at the connections are given. The information on whether it will be done on the construction site or not is entered. |
Weld electrode ![]() The strengths of the welding electrodes are defined in the design inputs. The strength of the main element in the weld joint is controlled under the condition that it has less strength than the weld strength. If necessary, click the list and define "Create New…". To create the welding electrode, give the information "Name" and "Weld metal tensile strength" in the dialog that opens after clicking "Create New". Welding geometry is determined automatically by the program. These properties can be changed to easily determine the connection properties. Geometry features are in accordance with industry standards and in the form specified in AISC. |
Schematic drawing ![]() Connection and weld values are shown on the schematic drawing. |
Preview ![]() There is a preview of the connection. The selection made and the entered values can be followed simultaneously in the preview. |
Design Data Tab

In the design data, the connection elements material is defined. The condition that the main element in the weld joint has less strength than the weld strength is controlled.

If necessary, click the list and define "Create New…". To create the connection elements material, give the information material definitions and values in the dialog that opens after clicking "Create New".
Next Topic























