Defining Double Angle Connection
With the Double Angle Connection command, column-beam connection is defined.

Location of the Double Angle Connection Command
You can access it under the Ribbon menu, Connection tab, Connection title.

Usage Steps
If Draw in Fast Mode is Active
From the Connection menu, click the Double Angle Connection icon.
In 3D perspective view, move the mouse pointer closer to the element, close to the support
After this process, the virtual image of the connection will appear.
If the connection is suitable, create the connection by clicking the left mouse button.
The connection will occur with default settings.
If Draw in Fast Mode is Inactive
From the Connection menu, click the Double Angle Connection icon.
Click the column then the beam before the 3D perspective view.
The double angle connection settings dialog will open.
The connection will occur when the wanted settings are made and the OK button is clicked.
Location of the Double Angle Connection Settings Dialog
If the draw in fast mode is active, the connection settings will be opened automatically.
If the draw in fast mode is inactive, select the connection and click the right mouse button. Click the Properties line from the right click menu that opens.

Double Angle Connection Settings Dialog
Type and Placement Tab

Specifications |
|---|
Connection to support ![]() Bolted or welded connection types are selected for the support connection. |
Connection to beam ![]() Bolted or welded connection types are selected for the beam connection. |
Orientation ![]() One of the angled or straight options is chosen for the connection orientation. |
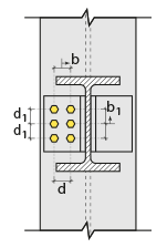
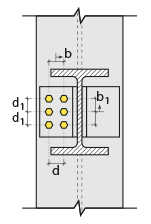
Placement ![]() Placement values are entered. The values to be entered are shown in the schematic drawing. |
Schematic drawing ![]() Connection and placement values are shown on the schematic drawing. |
Preview ![]() There is a preview of the connection. The selection made and the entered values can be followed simultaneously in the preview. |
Angle Tab
The geometry of the angle used is given or one of the L profiles in the library can be used as a connection element with the Use Section option. If you check the plate geometry option, enter the plate dimensions according to the schematic representation.

Specifications |
|---|
Define plate geometry ![]() If the option is selected, it is determined by entering the angle values. The values to be entered are shown in the schematic drawing. |
Use section ![]() By selecting the option, one of the ready-made L profiles is selected from the list as an angle bracket. By clicking on the load section button, you can reach the ready section library and reach the list of American and European finished rolling sections and select from the list. |
Length ![]() Angle length value is entered. |
Schematic drawing ![]() Connection and plate values are shown on the schematic drawing. |
Preview ![]() There is a preview of the connection. The selection made and the entered values can be followed simultaneously in the preview. |
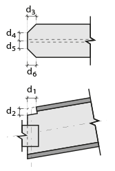
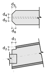
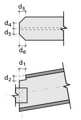
Top/Bottom Notch Tabs

Specifications |
|---|
Notch ![]() If the option is selected, notching is done according to the entered values. The values to be entered are shown in the schematic drawing. |
Left flange cut ![]() If the option is selected, left header cutting is made according to the entered values. The values to be entered are shown in the schematic drawing. |
Right flange cut ![]() If the option is selected, right header cutting is made according to the entered values. The values to be entered are shown in the schematic drawing. |
Schematic drawing ![]() Connection, notching and cutting values are shown on the schematic drawing. |
Preview ![]() There is a preview of the connection. The selection made and the entered values can be followed simultaneously in the preview. |
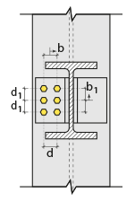
Support Bolts Tabs
The properties of the bolts that connect the plate to the beam or column are adjusted.

Specifications |
|---|
Horizontal arrangement ![]() Horizontal arrangement settings (number of horizontal bolt columns, distance values ..) of support bolts are entered. The values to be entered are shown in the schematic drawing. |
Group 1 ![]() Support bolts settings (number of lines, distance values ..) are entered. The values to be entered are shown in the schematic drawing. |
Bolt properties ![]() The Hole and Bolt Parameters dialog is opened by clicking on the bolt properties button. The bolt properties are set in this dialog. |
Schematic drawing ![]() Connection and bolt placement values are shown on the schematic drawing. |
Preview ![]() There is a preview of the connection. The selection made and the entered values can be followed simultaneously in the preview. |
Beam Bolts Tabs

Specifications |
|---|
Horizontal placement ![]() Horizontal placement settings (number of horizontal bolt columns, distance values ..) of beam bolts are entered. The values to be entered are shown in the schematic drawing. |
Group 1 ![]() Beam bolts settings (number of lines, distance values ..) are entered. The values to be entered are shown in the schematic drawing. |
Bolt properties ![]() The Hole and Bolt Parameters dialog is opened by clicking on the bolt properties button. The bolt properties are set in this dialog. |
Schematic drawing ![]() Connection and bolt placement values are shown on the schematic drawing. |
Preview ![]() There is a preview of the connection. The selection made and the entered values can be followed simultaneously in the preview. |
Welds Tab
In the Welds tab, the weld properties of the connections given in the schematic representation are set.

Specifications |
|---|
Welds ![]() The thickness, type and angle values of the welds to be made at the connections are given. The information on whether it will be done on the construction site or not is entered. |
Weld electrode ![]() The strengths of the weld electrodes are defined in the design inputs. The strength of the main element in the weld joint is controlled under the condition that it has less strength than the weld strength. To create the weld electrode, provide the information "Name" and "Weld metal tensile strength" in the dialog that opens after clicking "Create New". Welding geometry is determined automatically by the program. These properties can be changed to easily determine the connection properties. Geometry features are in accordance with industry standards and in the form specified in AISC. |
Schematic drawing ![]() Connection and weld values are shown on the schematic drawing. |
Preview ![]() There is a preview of the connection. The selection made and the entered values can be followed simultaneously in the preview. |
Design Data Tab
In the design data, the connection elements material is defined. The condition that the main element in the weld joint has less strength than the weld strength is controlled.

If necessary, click the list and define "Create New…". To create the connection elements material, give the information material definitions and values in the dialog that opens after clicking "Create New".
Next Topic


























