Defining a 8 Bolts Stiffened End Plate Connection
With the 8 Bolts Stiffened End Plate Connection command, column-beam connection is defined.

Location of the 8 Bolts Stiffened End Plate Connection Command
You can access it under the Ribbon menu, Connection tab, Connection title.

Usage Steps
If Draw in Fast Mode is Active
From the Connectionmenu, click on the icon for 8 Bolts Stiffened End Plate Connection.
In 3D perspective view, move the mouse pointer closer to the element, close to the support
After this process, the virtual image of the connection will appear.
If the connection is suitable, create the connection by clicking the left mouse button.
The connection will occur with default settings.
If Draw in Fast Mode is Inactive
From the Connection menu, click on the icon for 8 Bolts Stiffened End Plate Connection.
Click the column then the beam before the 3D perspective view.
The 8 bolts stiffened end plate connection settings dialog will open.
The connection will occur when the wanted settings are made and the OK button is clicked.
Location of the 8 Bolts Stiffened End Plate Connection Settings Dialog
If the draw in fast mode is active, the connection settings will be opened automatically.
If the draw in fast mode is inactive, select the connection and click the right mouse button. Click the Properties line from the right click menu that opens.

8 Bolts Stiffened End Plate Connection Settings Dialog
Type and End Plates Tab

Specifications |
|---|
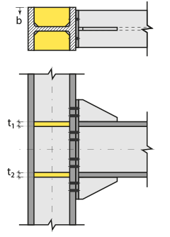
End plate ![]() The end plate is determined by entering the values. The values to be entered are shown in the schematic drawing. |
Schematic drawing ![]() Connection and plate values are shown on the schematic drawing. |
Preview ![]() There is a preview of the connection. The selection made and the entered values can be followed simultaneously in the preview. |
Brackets Tab

Specifications |
|---|
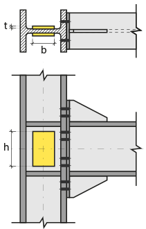
Brackets ![]() Brackets are determined by entering values. The values to be entered are shown in the schematic drawing. |
Schematic drawing ![]() Connection and plate values are shown on the schematic drawing. |
Preview ![]() There is a preview of the connection. The selection made and the entered values can be followed simultaneously in the preview. |
Bolts Tab

Specifications |
|---|
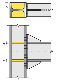
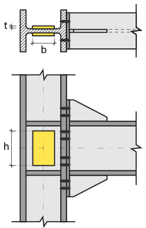
Horizontal arrangement ![]() The horizontal arrangement distance value of bolts is entered. The values to be entered are shown in the schematic drawing. |
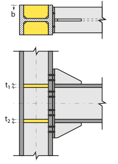
Group 1 ![]() Distance values of bolts to beam and other bolts are entered. The values to be entered are shown in the schematic drawing. |
Group 2 ![]() Distance values of bolts to beam and other bolts are entered. The values to be entered are shown in the schematic drawing. |
Group 3 ![]() Distance values of bolts to beam and other bolts are entered. The values to be entered are shown in the schematic drawing. |
Bolt properties ![]() The Hole and Bolt Parameters dialog is opened by clicking on the bolt properties button. The bolt properties are set in this dialog. |
Schematic drawing ![]() Connection and bolt placement values are shown on the schematic drawing. |
Preview ![]() There is a preview of the connection. The selection made and the entered values can be followed simultaneously in the preview. |
Stiffeners Tab

Specifications |
|---|
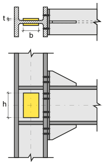
Continuity plate ![]() The purpose of the continuity plates is to support the column heads in the column-beam joints and to ensure the continuity of the beam head. Continuity plates are used for reinforcement in order to bend the column head and prevent column stem flow / wrinkle. If a continuity plate will be made, the option is marked. Continuity plate is determined by entering values. The values to be entered are shown in the schematic drawing. |
Schematic drawing ![]() Connection and plate values are shown on the schematic drawing. |
Preview ![]() There is a preview of the connection. The selection made and the entered values can be followed simultaneously in the preview. |
Extra Plates Tab

Specifications |
|---|
Web doubler plate ![]() If the column body thickness is insufficient, web doubler are used to meet the shear effect of the panel area. If the web doubler plate will be made, the option is marked. Web doubler plate is determined by entering values. The values to be entered are shown in the schematic drawing. |
Schematic drawing ![]() Connection and plate values are shown on the schematic drawing. |
Preview ![]() There is a preview of the connection. The selection made and the entered values can be followed simultaneously in the preview. |
Chamfers Tab

Specifications |
|---|
Chamfers ![]() For easy assembly of the plates in the field, the use of slope, slope type and geometric properties are determined by entering the value. |
Schematic drawing ![]() Chamfer values are shown on the schematic drawing. |
Preview ![]() There is a preview of the connection. The selection made and the entered values can be followed simultaneously in the preview. |
Welds Tab

Specifications |
|---|
Welds ![]() The thickness, type and angle values of the welds to be made at the connections are given. The information on whether it will be done on the construction site or not is entered. |
Weld electrode ![]() The strengths of the welding electrodes are defined in the design inputs. The strength of the main element in the weld joint is controlled under the condition that it has less strength than the weld strength. If necessary, click the list and define "Create New…". To create the welding electrode, give the information "Name" and "Weld metal tensile strength" in the dialog that opens after clicking "Create New". Welding geometry is determined automatically by the program. These properties can be changed to easily determine the connection properties. Geometry features are in accordance with industry standards and in the form specified in AISC. |
Schematic drawing ![]() Connection and weld values are shown on the schematic drawing. |
Preview ![]() There is a preview of the connection. The selection made and the entered values can be followed simultaneously in the preview. |
Design Data Tab

In the design data, the connection elements material is defined. The condition that the main element in the weld joint has less strength than the weld strength is controlled.

If necessary, click the list and define "Create New…". To create the connection elements material, give the information material definitions and values in the dialog that opens after clicking "Create New".



















