Punching Shear Check Example 1
Punching Shear Design Example
In the example calculation, a punching calculation will be made for a column whose dimensions are 100x80. Other parameters in the calculation are listed as follows.
Slab thickness: 27 cm
Slab cover: 3 cm
Material : C35/S420
fctd = 1380.42 kN/m2 (Concrete design tensile strength)
Download ideCAD for ACI 318-19 with Punching Shear Check
The slab useful height, d , is calculated;
d = ( Slab thickness - Slab cover ) = 27 - 3 = 24 cm
Column dimensions
c1 = 100 cm c2 = 80 cm
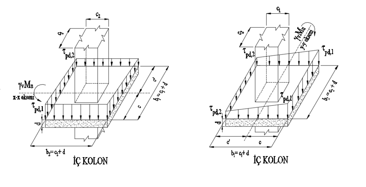
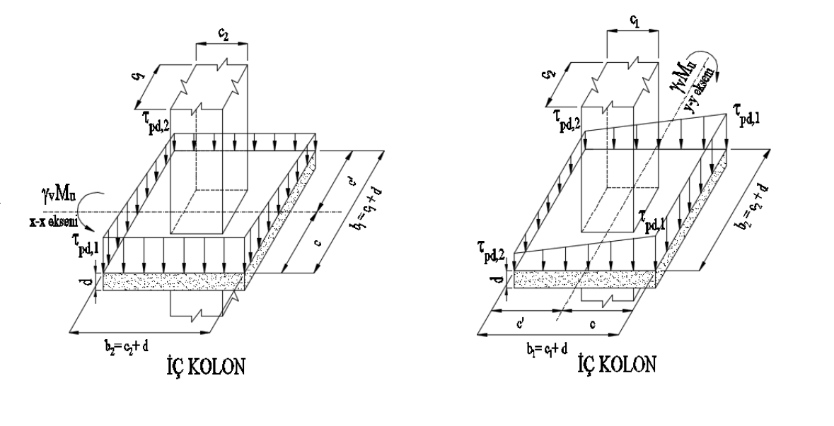
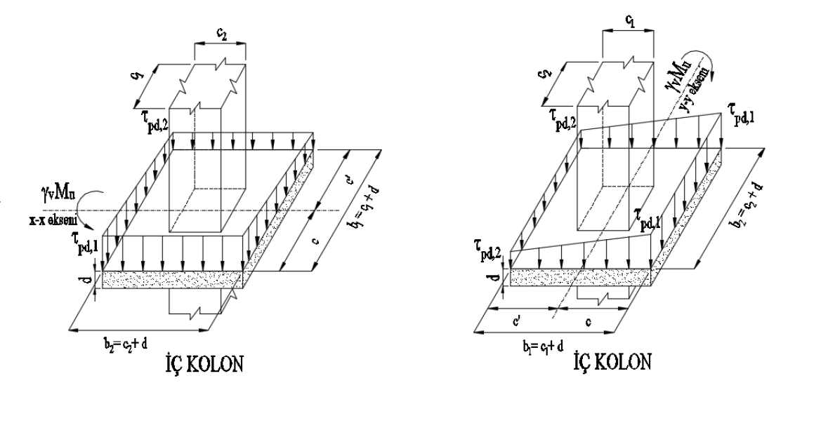
The punching circumference (up) is calculated at a distance d/2 from the column surface and is shown in the picture below. In this case, punching is done by adding d to the column dimensions to find the perimeter's edges (b1, b2).

In this case, the punching circumference (up ) and the punching area (Az) obtained by multiplying the punching perimeter by the flooring useful height, d, is calculated as shown below.
The shear stresses plotted below are the punching stresses perpendicular to the slab plane.

The J values are the sum of the polar inertia and second moments of inertia of the surfaces forming the punching area (Az). TBDY Equation 7.28 calculates this value according to the loading direction considering the γf coefficient.
Calculation of J and γf Coefficients for Strong Axis (Major Direction)
The coefficients γf(maj) and γv(maj) are calculated as follows.
The following operations are performed to find the J (maj) value.
c (maj) is the center of gravity distance perpendicular to the moment vector, which is considered when finding the J value ( J (maj) ) on the strong axis of the section. Since the punching circumference is rectangular,
The polar inertia and second moments of inertia are calculated as follows, respectively.
In this case, the sum of the polar inertia and second moments of inertia about the section's strong (major) axis, J (maj), is found as follows.
Calculation of J and γf Coefficients for Weak Axis ( Minor Direction )
The following steps are followed to calculate the γ f(min) and γ v(min) coefficients.
The J(min) value is found as follows.
The c(min) value is the center of gravity distance perpendicular to the moment vector, which is considered when finding the J value (J (min)) on the weak axis of the section. Since the punching circumference is rectangular,
In this case, the polar and second moments of inertia are found as follows, respectively.
In this case, the sum of the polar inertia and second moments of inertia about the section's weak (minor) axis, J (min), is found as follows.
Finding Punching Stresses
The forces to be considered for punching stresses and the values obtained from the hand geometry are given below.
Vd = 683.13 kN
DM d(maj) = 143.53 kNm
DM d(min) = 546.65 kNm
Az = 1.0944 m 2
γf(maj) = 0.579
γv(maj) = 0.421
γf(min) = 0.621
γv(min) = 0.379
J(maj) = 0.27101448 m 4
J(min) = 0.2083328 m 4
c(maj) = 0.62 m
c(min) = 0.52m
c'(maj) = 0.62 m
c'(min) = 0.52 m
The punching stresses are found by substituting all the above values in the stress formulas and the internal forces essential to the punching design.
The absolute value of τ pd,1 , τ pd,2 is τ pd,1 = 1279.56 kN/m 2 . This obtained value is compared with the fctd value, which is the concrete design tensile strength.
τpd,1 = 1279.56 kN/m2 < fctd = 1380.42 kN/m2
Upholstery punching strength is sufficient. These values can also be compared with the report results.
Punching Shear Design Software
ideCAD Structural is an All-in-One Structural Engineering Software with Punching Shear Design and many other Structural Design Code Check tools.