Punching Shear Check Example 2
In the example calculation, a punching calculation will be made for a column whose dimensions are 100x50. Other parameters are listed as follows.
Slab thickness : 27 cm
Slab cover: 3 cm
Material : C35/S420
fctd = 1380.42 kN/m2 (Concrete design tensile strength)
The slab useful height, d , is calculated;
d = ( Slab thickness - Slab cover ) = 27 - 3 = 24 cm
Column dimensions
c1 = 100 cm c2 = 50 cm
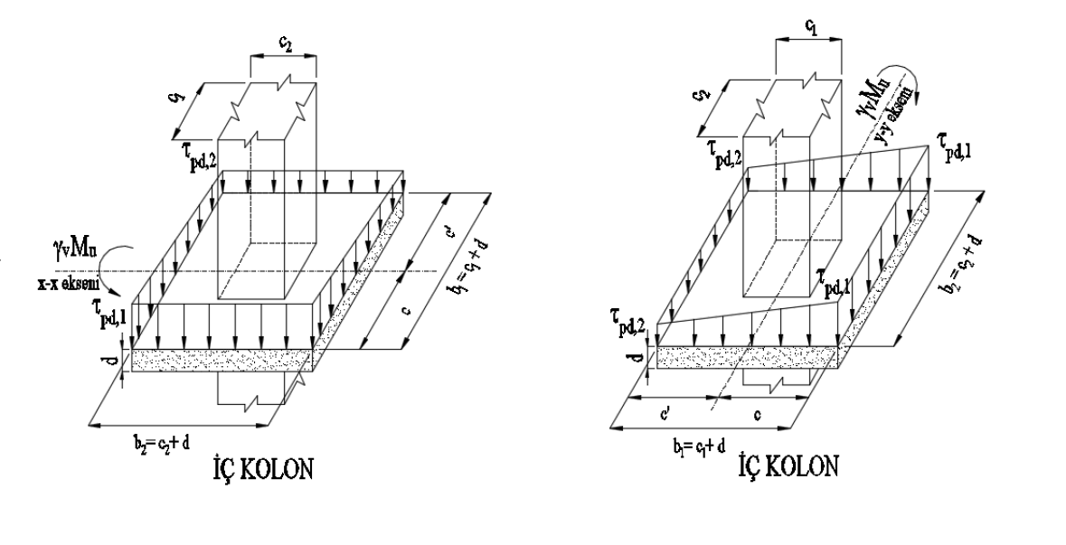
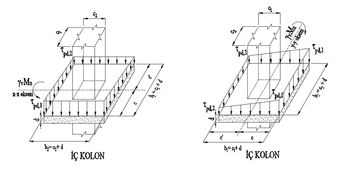
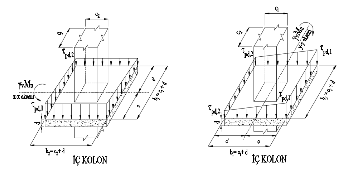
The punching circumference (up) is calculated at a distance d/2 from the column surface and is shown in the picture below. In this case, the following operations are performed to find the edges (b1, b2) of the punching.

In this case, the punching circumference, (up ), and the punching area (Az) obtained by multiplying the punching perimeter by the flooring useful height, d , is calculated as shown below.
The shear stresses plotted below are the punching stresses perpendicular to the slab plane.

The J values are the sum of the polar inertia and second moments of inertia of the surfaces forming the punching area (Az). According to TBDY Equation 7.28, this value is calculated according to the loading direction considering the γf coefficient .
Calculation of J and γf Coefficients for Strong Axis (Major Direction)
The coefficients γf(maj) and γv(maj) are calculated as follows.
To find the J (maj) value, the following operations are performed.
c (maj) is the center of gravity distance perpendicular to the moment vector, which is considered when finding the J value ( J (maj) ) on the strong axis of the section. Since the punching circumference is rectangular, the c (maj) value is calculated as follows.
The polar inertia and second moments of inertia are calculated as follows, respectively.
In this case, the sum of the polar inertia and second moments of inertia about the strong (major) axis of the section, J (maj) , is found as follows.
Calculation of J and γf Coefficients for Weak Axis (Minor Direction)
The following steps are followed for the calculation of the γ f(min) and γ v(min) coefficients.
The J(min) value is found as follows.
The c(min) value is the center of gravity distance perpendicular to the moment vector, which is considered when finding the J value (J (min)) on the weak axis of the section. Since the punching circumference is rectangular;
In this case, the polar moments of inertia and the second moments of inertia are found as follows, respectively.
In this case, the sum of the polar inertia and second moments of inertia about the weak (minor) axis of the section, J (min) , is found as follows.
Finding Punching Stresses
The forces to be considered for punching stresses and the values obtained from the geometry are given below.
Vd = 679.31 kN
DMd(maj) = 394.624 kNm
DMd(min) = 65.3914 kNm
Az = 0.9504 m2
γf(maj) = 0.537
γv(maj) = 0.463
γf(min) = 0.660
γv(min) = 0.340
J(maj) =0.2156608 m4
J(min) = = 0.0993968 m4 ,
c(maj) = 0.62 m
c(min) = 0.37 m
c'(maj) = 0.62 m
c'(min) = 0.37 m
The punching stresses are found by substituting all the above values in the stress formulas together with the internal forces essential to the punching design.
The absolute value of τ pd,1 , τ pd,2 is τ pd,1 = 1322.795 kN/m 2 . This obtained value is compared with the fctd value, which is the concrete design tensile strength.
τpd,1 = 1322.795 kN/m2 < fctd = 1380.42 kN/m2
Upholstery punching strength is sufficient. These values can also be compared with the report results.
Download ideCAD for ACI 318-19